Seri Pembakar RIELLO PRESS 450 P/G adalah burner berbahan bakar light oil solar yang mencakup rentang pembakaran dari 1190 hingga 5340 kW. Pengaturan dapat di oprasikan dengan “progresif dua tahap” atau, sebagai alternatif, “modulasi” dengan pemasangan regulator logika PID dan probe masing-masing, yang menjamin rasio penurunan 3:1, Fleksibilitas rentang ini membuat pembakar riello press PG sangat cocok untuk digunakan pada aplikasi komersial atau industri di mana faktor beban dapat mengalami variasi yang luas dalam waktu singkat.
Teknikal Data Produk
- Mrek : Riello
- Model : Press 450 P/G
- Type : 484 M1
- Operasi pembakar : 2 tahap progresif/Modulasi (dengan kit)
- Bahan bakar : light Oil dengan viskositas maks. 20 °C: 6 mm2 /s (1,5° E)
- Kapasitas Thermal : 1190/2670÷5340 Kw
- Konsumsi bahan bakar : 100/225÷450 Kg/jam
- Pasokan listrik: 3N ~ 400 V 50-60 Hz
- Motor: 2920 Rpm, 15 KW, 230 – 400 V, 26.6 – 15.4 A
- Trafo pengapian: Primer: 2A – Sekunder: 2 x 6.5 kV – 35 mA
- Waktu Berjalan Servo motor : 42 S
- Kapasitas pompa max : 880 (25 bar)
- Tipe Fan Blower : Sentrifugal dengan bilah kurva maju
- Tipe control Box : Siemens LAL 1.25
- Tipe Servo Motor : Siemens SQM 10
- Tyipe Pompa : Suntec Ta 5
- Total daya listrik: 18 kW
- Tekanan suara : 90 dB (A)
- Co Emisi : 35 mg/kWh
- Perlindungan listrik: IP 40
- Sesuai dengan :EN 267
- Sertifikasi : DIN 5G462/2000
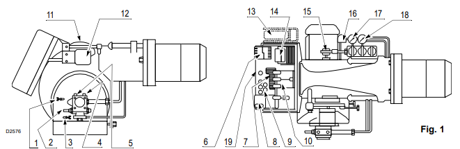
Kemudahan dalam perawatan hadir berkat sistem bilah geser yang di sediakan pada burner riello p450 P/G, yang memungkinkan akses mudah ke semua komponen penting dari kepala pembakaran.
Struktur kontruksi & Aksesoris Produk
Riello P 450 P/G alat Pembakar minyak monoblok dengan rancangan paksa dengan operasi progresif atau modulasi dua tahap, dengan perangkat khusus, sepenuhnya otomatis, yang di lengkapi dengan aksesoris sebagai berikut :
- – Saluran hisap
- – Sekrup penyetelan tekanan pompa
- – Saluran balik
- – Steker manometer (G 1/4)
- – Steker vakuometer (G 1/4)
- – Tombol tekan reset relai kelebihan beban motor
- – Papan terminal kabel
- – Tombol tekan reset kotak kontrol dan lampu pengunci
- – Klem kabel
- – Batang untuk menggeser kepala pembakaran
- – Cam pengatur udara
- – Servomotor
- – Pengontrol modulasi (hanya untuk modulasi)
- – Trafo pengapian
- – Eksentrik penyetelan tekanan balik
- – Sakelar tekanan
- – Manometer pada saluran balik
- – Manometer pada saluran suplai
- – Hanya Untuk Riello P300 P/G
Aksesoris standar:
- 2 pipa fleksibel untuk penyambungan ke jaringan suplai oli
- 2 puting untuk penyambungan ke pompa
- alat penyambung kabel untuk sambungan listrik
- 4 sekrup untuk mengencangkan flens pembakar ke boiler
- 1 layar termal
- buku petunjuk pemasangan, penggunaan, dan perawatan
- katalog suku cadang
Kontak Kami :
- PT indira Mitra Boiler
- Marketing : zaenal arifin
- Tlpn : 0813-8577-6935
- Fax : (021) 35295874
- Email : idmarifin2@gmail.com
Emerald Residence Sepatan Ruko 8i, RT.026/RW.005, Kosambi, Kec. Sukadiri, Kabupaten Tangerang, Banten indonesia 15530


Comments
No comment yet.